Швонарезчик дизельный HUSQVARNA FS 410 D 9651501-01
Подарок
![]() | Перчатки Functional Husqvarna размер 07 -12 Артикул:61010 |
Особенности:
- Швонарезчик Husqvarna FS 410 D оснащен экономичным дизельным двигателем Yanmar
- Нарезчик швов является прочным, хорошо продуманным и простым в пользовании благодаря таким функциям, как защитный кожух, усиленная рама для подъема и индикатор глубины резания
- Запатентованная система подъема/опускания на пружинах.
- Запатентованное крепление двигателя для снижения вибрации, обеспечивающее более удобную работу.
- Резчик дорожных покрытий FS410D имеет возможность левосторонней и правосторонней резки.
- Большой водяной бак из ударопрочного пластика с быстросоединяемым подключением водяного шланга к верхней части защитного кожуха режущего диска. Для отсоединения не требуется никаких инструментов.
- На панели управления расположены: рычаг акселератора, аварийный выключатель, тахометр, таймер и индикатор глубины резания.
- Модель имеет встроенный ящик для инструментов.
|
Запатентованные узлы крепления двигателя, режущего диска и кожуха на подшипнике уменьшают общую вибрацию и обеспечивают более высокую производительность резки, снижают износ и шум. |
|
|
Запатентованная система защиты вала режущего диска IntelliSeal обеспечивает минимум 250 часов работы без обслуживания и устраняет необходимость ежедневной смазки подшипников |
|
|
Запатентованные регулируемые рукоятки швонарезчика созданы для повышения удобства работы оператора нарезчика швов. Регулировка позволяет находиться ближе к режущей кромке, что облегчает контроль прямого реза. Рукоятка может также складываться для транспортировки |
|
|
Система защитного кожуха диска на шарнире с прицезионным подшипником снижает износ и шум. |
|
|
Специальный дизайн поликлинового ремня позволяет работать дольше, чем обычный ремень и передает большую долю мощности на шпиндель. При этом он реже требует поднатяжки. |
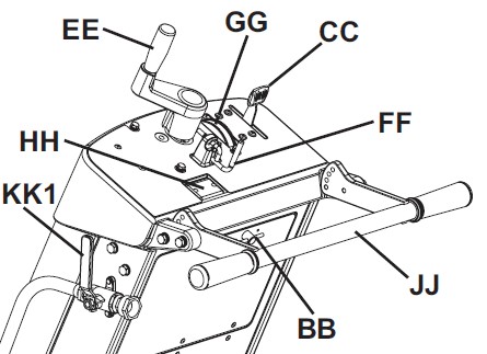
Описание дизельного нарезчика швов Husqvarna FS 410 D
- a. Передний Указатель.
- b. Колесо указателя
-
c. Кожух диска
-
d. Крышка кожуха
-
e. Болт задней части кожуха
-
f. Накладка кожуха диска
-
g. Водяной разъем
-
h. Диск
-
i. Внутренний фланец
-
j. Внешний фланец
-
k. Ведущий штифт
-
l. Гайка шпинделя
-
m. Посадка диска
-
n. Рама/опора водяного бака
-
o. Точка подъема
-
p. Водяной бак 25л
-
q. Пусковой трос
-
r.-
-
s.-
-
u. Гаечный ключ (13мм)
-
v. Передняя панель
-
w. Устройство защиты вала
-
x. Пресс-масленка регулятора глубины
-
y. Сошник кожуха диска
-
z. Щуп уровня моторного масла
- bb. Отделение Инструмента
-
cc. Сектор газа
- ee. Рукоятка заглубления
-
ff. Ограничитель глубины диска
-
gg. Глубиномер
-
hh. Тахометр
-
jj. Задняя ручка
-
kk1. Водяной кран
-
kk2. Водяной кран кожуха
-
mm. Натяжитель ремня
-
nn. Сливной шланг
-
oo. Стояночный тормоз
Технические характеристики | |
|---|---|
| Способ перемещения | Толкание |
| Максимальный диаметр режущего диска в данной комплектации, мм | 500 мм |
| Максимальная глубина резания в данной комплектации, мм | 189 мм |
| Посадочное отверстие, мм | 25,4 мм |
| Тип двигателя | 4-х тактный дизельный |
| Изготовитель двигателя | Yanmar |
| Объем двигателя, см3 | 435 см3 |
| Мощность двигателя, кВт | 6,6 кВт |
| Мощность двигателя, л.с. | 8,9 л.с. |
| Рабочие обороты двигателя, об./мин | 3600 об./мин |
| Число цилиндров | 1 |
| Диаметр цилиндра, мм | 86 мм |
| Ход поршня, мм | 75 мм |
| Охлаждение двигателя | Воздушное |
| Воздушный фильтр | Сухой бумажный |
| Емкость топливного бака, л | 4,7 л |
| Режущий инструмент входящий в комплект поставки | Не входит в комплект |
| Тип защитного кожуха режущего диска | Надвижной |
| Контроль глубины режущего диска | Маховичок |
| Звуковое давление возле уха оператора, дБ(А) | 91 дБ (А) |
| Гарантированная мощность звука, дБ(А) | 108 дБ (A) |
| Уровень вибраций рукоятки, м/с2 | 4,2 м/с2 |
| Размеры (ДхШхВ), мм | 1550 х 655 х 1200 мм |
| Масса (без упаковки), кг | 145 кг |
| Масса в упаковке, кг | 196 кг |
| Регулируемая рукоятка | + |
| Поликлиновый ремень (лучшая подача мощности, большой срок службы) | + |
| Гарантия | 1 год |
| Страна основного производства и происхождения бренда | Швеция |
Техника для леса и сада
Полив и водоснабжение
Уборка и клининг
Строительное оборудование
Уплотнение грунта и асфальта
Бетонирование и шлифование
Силовая техника
Электроинструмент
Тепловое и климатическое оборудование
Техника для бездорожья
Средства индивидуальной мобильности
Лодочные моторы



































































































